Frez do gwintów, pełnowęglikowy
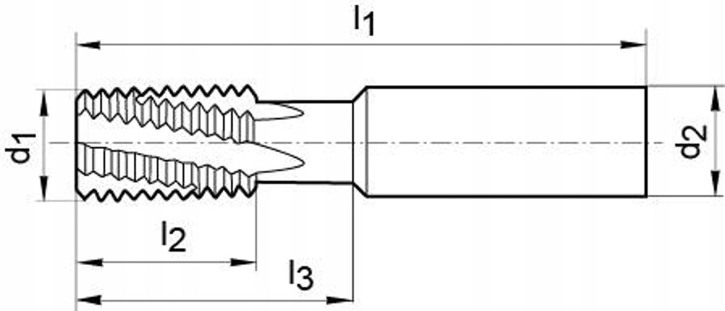
Wykonanie: dzięki technice frezowania w procesie obróbki uzyskuje się dokładną głębokość gwintu, bardzo wysoką jakość powierzchni gwintu, możliwość obróbki trudnoobrabialnych materiałów i wytwarzania gwintów blisko dna. Przy uwzględnieniu skoku gwintu można poddać obróbce także większy zakres średnic. Zastosowanie: do metrycznych gwintów zwykłych (zarówno prawych jak i lewych) według DIN 13 do otworów przelotowych i nieprzelotowych. Uwaga: pełnowęglikowe frezy do innych rodzajów gwintów (UNC, UNF, gwint rurowy itd.) dostępne na zapytanie. Pozostałe informacje znajdują się w załączniku technicznym.